Apple Was Awarded a Patent for a Foldable Phone. Time to Flip Out!

Predictions suggest an Apple flip phone could be available by 2025.

By Dan Bova Feb 15, 2023
Apple, US Patent and Trademark Office

For any Apple fan who has watched “The Wire” way too many times, the dream of an old-school flip phone with new-school tech has been elusive.

Well, that dream is about to become a reality.

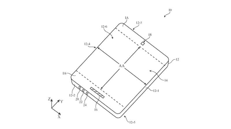
On Tuesday, the U.S. Patent Office awarded Apple a patent for a display with touch sensors on a “foldable electronic device.” Per the patent description, users will have multiple touchpoints on the device (not just the screen) to control things like the camera and headphone volume, and the device may have input-output ports to connect with joysticks, scrolling wheels, touchpads, microphones, keyboards, and other accessories.

Related: ‘My Watch Regularly Thinks I’ve Had An Accident:’ Apple Crash Detection Technology Is Overwhelming Some 911 Centers

It all sounds very cool, but don’t start camping out in line at your local Apple Store just yet.

Per Yahoo! Finance, FT International analyst Ming-Chi Kuo predicted that the folding Apple phone would hit stores in 2025. Likewise, UBS analyst David Vogt said he doesn’t believe the phone will be available this year but is excited nonetheless.

“We believe that a foldable iPhone model could lead to an uptick in consumer purchasing and upgrade rate within the smartphone segment,” Vogt wrote in a note to investors. “If a foldable device compresses the upgrade rate for iPhones or attracts ‘switchers’ from the Android ecosystem, iPhone unit growth could come in above our 238 million estimates in [fiscal 2024] given an installed base of roughly 1.2 billion iPhones and roughly 1.3 billion smartphones shipped a year.”

It’s been a great 2023 for Apple stockholders, reports The Motley Fool. “Shares have risen about 17%, easily surpassing the S&P 500’s 7% gain over this same period,” writes Daniel Sparks, adding, “one analyst thinks the stock still has plenty of room to run.”

Let the folding begin!

For any Apple fan who has watched “The Wire” way too many times, the dream of an old-school flip phone with new-school tech has been elusive.

Well, that dream is about to become a reality.

On Tuesday, the U.S. Patent Office awarded Apple a patent for a display with touch sensors on a “foldable electronic device.” Per the patent description, users will have multiple touchpoints on the device (not just the screen) to control things like the camera and headphone volume, and the device may have input-output ports to connect with joysticks, scrolling wheels, touchpads, microphones, keyboards, and other accessories.

The rest of this article is locked.

Join Entrepreneur+ today for access.

Subscribe Now

Already have an account? Sign In

Dan Bova

VP of Special Projects at Entrepreneur.com
Entrepreneur Staff
Dan Bova is the VP of Special Projects at Entrepreneur.com and host of the How Success Happens podcast. He previously worked at Jimmy Kimmel Live, Maxim, and Spy magazine. His latest books for kids include This Day in History, Car and Driver's Trivia Zone, Road & Track Crew's Big & Fast Cars, The Big Little...

Related Content